宜良县人民政府 www.kmyl.gov.cn

政府信息公开

政府信息公开指南
政府信息公开制度

依申请公开
索引号: 750659971-202406-879857 主题分类: 公示公告
发布机构:  宜良县人民政府 发布日期: 2024-06-24 15:35
名 称: 昆明市生态环境局宜良分局关于对2024年2季度“双随机、一公开”抽查检查公示情况
文号: 关键字:

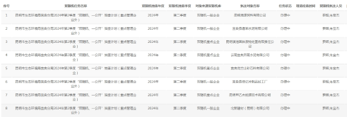
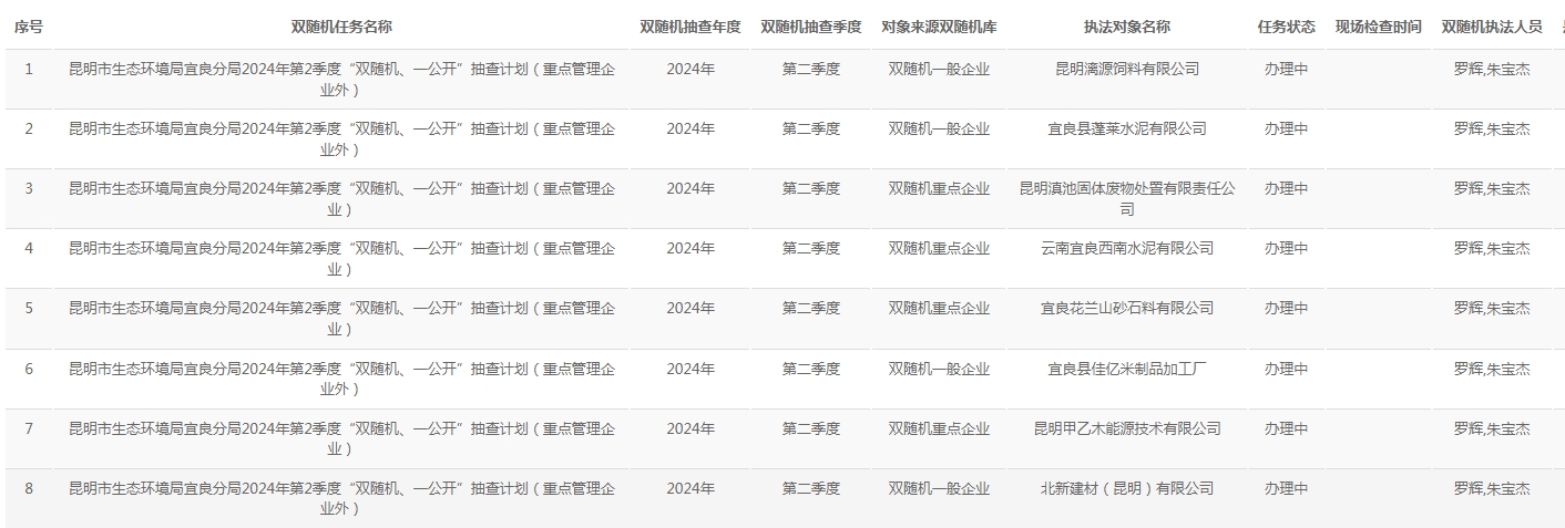
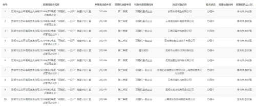
昆明市生态环境局宜良分局关于对2024年2季度“双随机、一公开”抽查检查公示情况

发布时间:2024-06-24 15:35 浏览次数:407
字号:[ ]

昆明市生态环境局宜良分局2024年2季度在云南省移动执法系统内随机抽取检查对象18家,其中重点管理企业8家,一般管理企业10家,均按计划要求开展了检查,检查未发现相关环境违法问题,对存在的一般性问题均进行了现场检查指导,并提出了相关整改要求。

附件:

微信截图_20240401093624

微信截图_20240401093727



友情链接